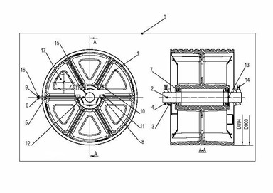
KM960960G01 DIVERTER PULLEY ASSY D900 Sign in or create a user account here to see more product details. Sign in or Register Product Details Component Family Codes MX100 - Axial Machinery, rated load 10000kg MX100 - Axial Machinery, rated load 10000kg Product Description en: DIVERTER PULLEY ASSY D900 es: DIVERTER PULLEY D900 fr: POULIE DERIVATION ENSEMBLE D900 fi: TAITTOPYÖRÃ D900 en: DIVERTER PULLEY ASSY D900 Material Utilisation Group 04173 - DIVERTING PULLEY 04173 - DIVERTING PULLEY Material group EF19 - Other hoisting machine parts Product Family Codes KONE Alta KONE Alta Gross weight 0,001 Unit of weight kg Sales Unit of Measure PC